首页
金属回收
家具回收
电子产品
工程拆除
电器回收
再生资源
当前位置:
首页
> huishou5 第2387页
金属回收
美国铝轮制造商卓越一季度亏5650万美元
...
huishou5
2021-09-08
343
0
再生资源
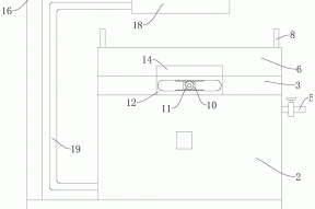
一种兽药生产用洗药装置的制作方法
...
huishou5
2021-09-08
313
0
金属回收
高压电缆线附件制作中的绝缘界面的性能问题
...
huishou5
2021-09-08
345
0
电子产品
废电脑回收:靠价格取胜,技嘉Z68A-D3H-B3主板评测
...
huishou5
2021-09-08
443
0
金属回收
电缆线回收之电缆线架桥安装说明
...
huishou5
2021-09-08
260
0
电器回收
变电所直流系统的组成
...
huishou5
2021-09-08
249
0
再生资源
一种盾构隧道掘进机刀盘冲洗装置的制作方法
...
huishou5
2021-09-08
306
0
工程拆除
浅谈九种既有建筑地基加固方法
...
huishou5
2021-09-08
326
0
金属回收
说说kV XLPE电缆线敞开式接地与密封收尾处理步骤
...
huishou5
2021-09-08
256
0
电子产品
废电脑回收:三星 500R5L 系列 Intel 酷睿 i7 6代全新机回收多少钱 -
...
huishou5
2021-09-08
308
0
首页
上一页
2383
2384
2385
2386
2387
2388
2389
2390
2391
2392
下一页
尾页
正在加载...
没有更多内容
加载错误
加载更多
热门文章
征信差也能借钱?2025这些贷款新口子不查征信!
2025-02-13
私人微信放款24小时在线联系方式,试试看这十款分期48期的贷款平台
2025-02-26
拆除工程属于危大工程吗
2023-10-30
2025年征信花还能下款的小额贷款还能办吗?这些平台还能试试!
2025-02-11
黑户逾期必下款2025是真的吗?申请入口在这里!
2025-02-12
美易借钱审核通过了就稳了吗?下款快不快看这里!
2025-02-11
黑户急需用钱,黑户借20万,可以尝试这十款2000元借款秒过
2025-02-25
714夜间放款口子,隆重汇总十款714无视逾期秒下的口子
2025-02-24